>
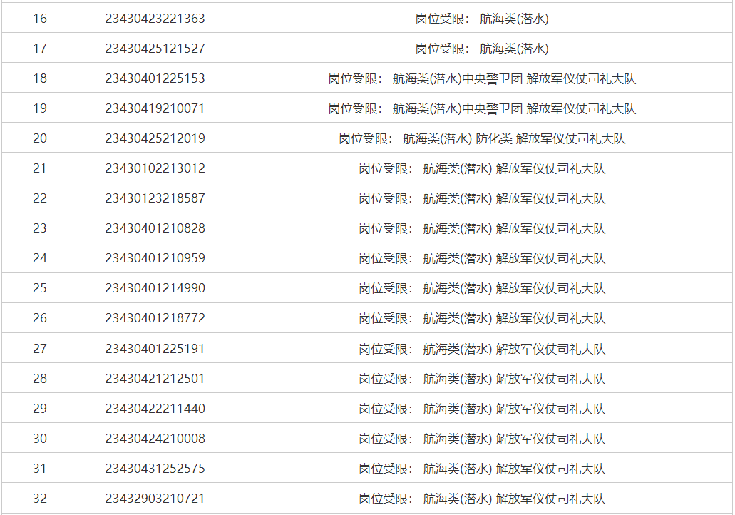
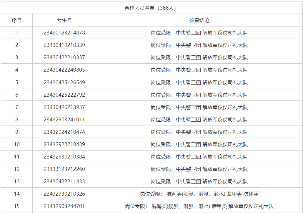
【#高考# 导语】®文档大全网从湖南招生考试信息港了解到,2023年6月30日湖南省军校招生体格检查结果公示已发布,详细内容如下:
点击进入:(查看完整版)
本文来源:https://www.wddqw.com/AmOv.html
相关文章:
正在阅读:
2023年6月30日湖南省军校招生体格检查结果公示07-04
2020年海南设备监理师成绩什么时候出来11-13
小学二年级暑假作文250字五篇07-15
2018新年的句子【三篇】03-19
2018西藏高考成绩安排在6月25日向社会公布06-19
2020年山东初级经济师合格标准暂定均为84分09-24
时间唯美励志名言语录09-22
中考冲刺简短霸气祝福语01-11
2023年上半年上海青浦自考成绩查询时间:6月1日05-27
2019年8月内蒙古证券从业资格证成绩查询入口:中国证券业协会03-07
去英国留学海关申报要带好的材料10-11