>
点击进入:(查看完整版)
本文来源:https://www.wddqw.com/6mOv.html
相关文章:
正在阅读:
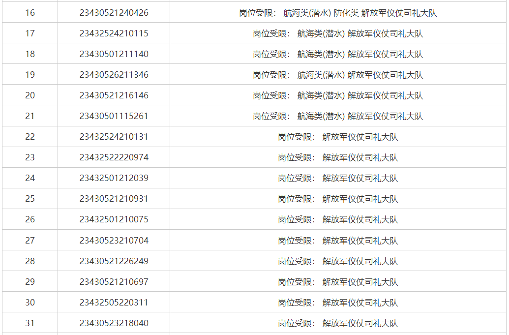
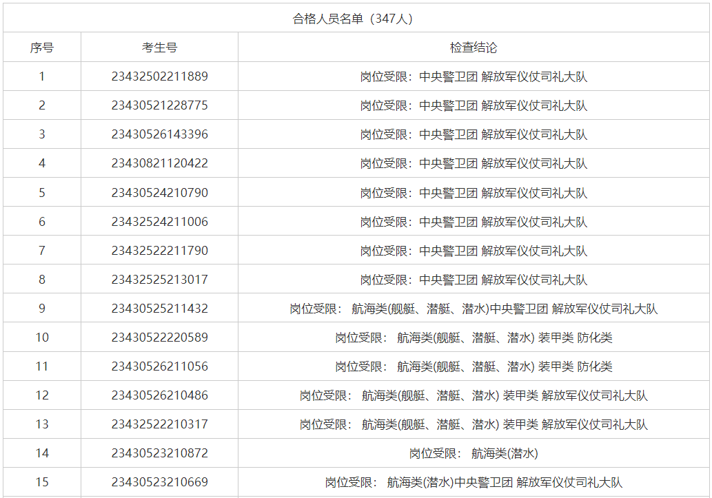
2023年7月2日湖南省军校招生体格检查结果公示07-04
2020金牛区小学排名一览表-四川成都金牛区小学排名一览表06-15
2020-2021年北京石景山高一语文上学期期末试卷及答案(Word版)09-14
上网课迟到检讨书500字,上网课迟到检讨书范文5篇04-20
2023年湖南岳阳市公安局招聘警务辅助人员公告(65人)10-11
童话故事作文三年级怎么写(5篇)12-23
祝孩子生日快乐祝福语-祝孩子暑假放假祝福语11-04
上海2017年税务师报名时间:4月20日至6月20日11-18
[大学教师年终述职报告]大学教师的年度述职报告08-20
2017职称英语考试A级:单词精选(二十一)04-15
端午的味道作文1000字10-17