>
点击进入:(查看完整版)
本文来源:https://www.wddqw.com/QmOv.html
相关文章:
正在阅读:
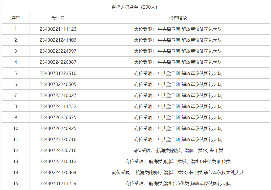
2023年7月1日湖南省军校招生体格检查结果公示07-04
学校总务处2021年工作计划500字-学校总务处2021年工作计划10-08
2017年护士资格证考试真题及答案_2017上海护士资格证报考要求05-16
2019江苏省盐城市建湖县九年级上册化学期中考试_2019江苏省盐城市建湖县广播电视台招聘公告04-11
2020年湖北省荆门市中考生物真题及答案(Word版)10-30
2020年甘肃一级造价工程师考试准考证打印入口11-23
我的语文老师作文600字05-12
2019安徽芜湖经济技术开发区招聘中小学人员公告【11人】03-11
高二下册生物重点知识点复习06-13
简短10字幽默搞笑生日祝福短信10-28
2019年基金从业《证券投资基金》备考重点:各类资本间投票权和所有权的区别04-08