【#中考# 导语】®文档大全网中考频道从宁波教育考试了解到,2023年浙江宁波市中考体育考试办法已公布,具体如下:

一、中长跑(男1000米、女800米)
1.场地器材:400米标准环形塑胶跑道,考前丈量准确。跑道上标有明显的起、终点线。准考证(或IC卡)、扫码枪(或读卡器)、专用背心、中长跑计时专用设备、笔记本电脑等。
2.考试办法:考生将准考证(或IC卡)交裁判员检录并穿上专用背心站在起跑线,用站立式起跑。当发令器发出起跑信号,考生起跑并按规定跑向终点线,如有抢跑者,全组召回重跑,抢跑二次者成绩作零分,到达终点后测试成绩将在准考证及中心计算机上自动生成。考生测试完毕将专用背心交还给裁判员,系统自动打印成绩单,持准考证(或IC卡)离开测试区域。每人最多可测试2次,记录其中的一次有效成绩。
二、50米跑
1.场地器材:100米以上的直形塑胶跑道,考前丈量准确。跑道上须标有明显的起、终点线。准考证(或IC卡)、扫码枪(或读卡器)、短跑电计时专用设备、笔记本电脑等。
2.考试办法:考生将准考证(IC卡)交裁判员检录并站在起跑线,起跑姿势为站立式。当发令器发出起跑信号,考生起跑并按规定跑向终点线,如有抢跑者,全组召回重跑,抢跑二次者成绩作零分,到达终点后测试成绩将在中心计算机上自动生成。考生测试完毕系统自动打印成绩单,持准考证(或IC卡)离开测试区域。每人最多可测试2次,记录其中的一次有效成绩。
三、立定跳远
1.场地器材:专用测试垫、仪器、准考证(或IC卡)、扫码枪(或读卡器)等。
2.考试办法:裁判员扫描考生准考证(或刷考生IC卡),仪器正确显示考生的姓名、考号等信息后开始测试。考生在专用测试垫起跳线后两脚自然分开站立,语音提示后原地两脚同时起跳,不得垫步和小跳,动作完成后向跳跃前方任一侧走出测试垫。系统会自动测量判定跳远距离并记录成绩,并识别起跳踩线等犯规动作,有语音或警鸣提示犯规,如起跳犯规自动识别该次跳跃成绩无效。考生测试完毕,系统自动打印成绩单,持准考证(或IC卡)离开测试区域。每人最多可测试3次,记录其中的一次有效成绩。
四、跳绳(60秒)
1.场地器材:干净、平整的场地、短绳、测试仪器、准考证(或IC卡)、扫码枪(或读卡器)等。
2.考试办法:裁判员扫描考生准考证(或刷考生IC卡),仪器正确显示考生的姓名、考号等信息。考生站在指定区域听到语音提示后开始跳绳(跳绳自带,但不可使用直径小于5mm的钢丝绳,不可使用透明绳),可用单(双)脚向上跳,同时双手向前摇动跳绳,每摇动一回环并同时起跳一次算一次,仪器自动计数,拌脚不计数,不能跳出指定区域,双飞、三飞都按一次计数。60秒后仪器自动停止计时并记录成绩。考生测试完毕,系统自动打印成绩单,持准考证(或IC卡)离开测试区域。每人最多可测试2次,记录其中的一次有效成绩。
五、掷实心球(2千克)
1.场地器材:4米宽、20米长的平地一块,质量2千克实心球、专用测试仪器、准考证(或IC卡)、扫码枪(或读卡器)等。
2.考试办法:裁判员扫描考生准考证(或刷考生IC卡),仪器正确显示考生的姓名、考号等信息后开始测试。考生在投掷线后身体正对投掷方向两脚前后或左右开立,双手持球在头上方,原地向前过头顶掷出,球出手后后脚才可向前迈出一步,但不得踩线或超线。仪器能自动测量判定投掷距离并识别起掷踩线或投掷后踩线等犯规动作,有语音或警鸣提示犯规。考生测试完毕,系统自动打印成绩单,持准考证(或IC卡)离开测试区域。每人最多可测试3次,记录其中的一次有效成绩。
六、篮球运球投篮
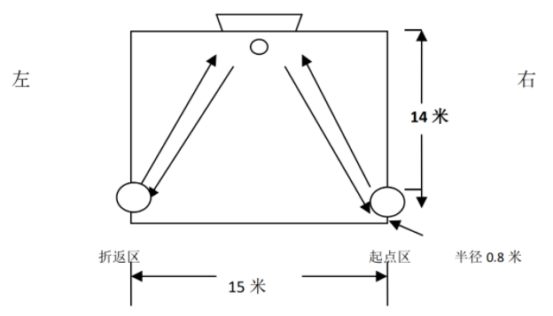
1.场地器材:标准篮球场半个(15*14米),橡胶篮球、专用测试仪器、准考证(或IC卡)、扫码枪(或读卡器)等。篮圈与地面平行,离地面高度3.05米,并悬挂篮网。以中线与边线的相交点为圆心(0.8米为半径)作弧,成1/4圆作为运球的起点区,另一对应点作为折返点。(测试场地见图示)

七、引体向上(男生)
1.场地器材:高单杠(单杠高度,以考生直臂悬垂脚尖不触地为准),单杠下有垫子。专用测试仪器、准考证(或IC卡)、扫码枪(或读卡器)等。
2.考试办法:裁判员扫描考生准考证(或刷考生IC卡),仪器正确显示考生的姓名、考号等信息。考生听到语音提示后跳起双手正手握杠直臂悬垂。静止后,两臂用力引体,上拉到下颏超过横杠为完成一次。接着重复到开始直臂悬垂姿势后继续引体,按此方式反复进行。考生测试完毕,系统自动打印成绩单,持准考证(或IC卡)离开测试区域。每人最多可测试2次,记录其中的一次有效成绩。
八、仰卧起坐(女生,60秒)
1.场地器材:专用测试垫、专用测试仪、准考证(或IC卡)、扫码枪(或读卡器)等。
2.考试办法:裁判员扫描考生准考证(或刷考生IC卡),仪器正确显示考生的姓名、考号等信息。考生仰卧于垫上,两腿稍分开,屈膝呈90度角左右,两手指交叉贴于脑后,双脚脚掌由专门器材固定,考生听到语音提示后开始做仰卧起坐,起坐时上身与水平面达到或超过90度角,仰卧时上身成水平状,姿势正确时专用测试仪会自动记录成绩,60秒后仪器自动停止计时。考生测试完毕,系统自动打印成绩单,持准考证(或IC卡)离开测试区域。每人最多可测试2次,记录其中的一次有效成绩。
九、足球运球
1.场地器材:专用测试仪、准考证(或IC卡)、扫码枪(或读卡器),平整场地或足球场,表面为天然或人工草坪(不能为光滑的硬地)。测试区域长30米,宽6米,场地四周设置明显的标志线。起点线至第一杆距离为5米,各杆间距5米,共设5根标志杆,标志杆与两侧边线相距3米。标志杆高不低于1.2米,考试用球的规格为5号足球(其重量为396-453g,周长为680-710mm),球内气压符合足球竞赛规则要求。
2.考试办法:裁判员扫描考生准考证(或刷考生IC卡),仪器正确显示考生的姓名、考号等信息后开始测试。考生站在起点线后准备,裁判员发令后,考生越过起点线后仪器开始计时,考生运球向前,依次绕杆;球通过最后一个标志杆后,考生至少触球一次,再运球通过终点线,当考生越过终点线后,计时停止。以秒为单位记录测试成绩,精确到小数点后1位(0.1秒),小数点后第2位数非“0”时进1。考试犯规时,当次成绩无效。犯规行为包括:未从指定区域出发;出发时抢跑;手球;漏绕标志杆;碰倒标志杆;球过最后一个标志杆后,到达终点前,脚未触球;未按要求完成全程路线;测试期间,人或球出测试区域等。考生测试完毕,系统自动打印成绩单,持准考证(或IC卡)离开测试区域。每人最多可测试2次,记录其中的一次有效成绩。
正在阅读:
2023年浙江宁波市中考体育考试办法公布03-31
第一次干农活作文800字07-31
2023年河南新乡市中考招生个人报名通知03-14
2017年两会乡村医生薪酬待遇的最新消息11-02
一年级小学生素质报告家长评语简短|一年级小学生素质报告评语(三篇)01-27
中学生佳句摘抄大全(5篇)04-29
房地产销售内勤年终工作总结_销售内勤年终工作总结10篇09-11
2022广东广州航海学院广州交通大学(筹)第一批人才招聘公告【100人】05-16
辽宁2020年9月证券从业资格考试合格标准为60分11-12