
一、认定对象范围
在我市申请认定幼儿园、小学、初级中学、高级中学和中等职业学校教师资格的人员,须符合以下其中一项条件:
(一)具有百色市户籍。
(二)持有百色市有效期内居住证且在有效期内(不可用临时居住证代替)。
(三)百色市辖区内全日制普通高等院校2023年应届毕业
生、在读专升本学生、在读研究生(按已经获取的学历参加认定)。
(四)持百色市有效期内港澳台居民居住证的港澳台居民可在居住地申请认定;持港澳居民来往内地通行证、5年有效期台湾居民来往大陆通行证且在有效期内,在百色市参加中小学教师资格考试并取得合格证书。
(五)驻地在百色市范围内的部队现役军人和现役武警。
二、认定机构和权限
百色市教育局负责百色市范围内高级中学教师资格、中等职业学校教师资格、中等职业学校实习指导教师资格认定。
各县(市、区)教育局负责本辖区范围内初级中学、小学和幼儿园教师资格认定。
百色学院设立教师资格认定确认点,负责学校2023年应届毕业生、在读专升本学生现场确认工作。
三、认定时间、地址
(一)申请人网报申请时间。
2023年4月17日9:00至7月6日16:00。
(二)现场确认时间及地址。
1.百色学院2023年应届毕业生、在读专升本学生现场确认材料由学校统一收取,并将审核通过的现场确认材料交到百色市教育局。
2.其他申请人直接到现场确认点提交认定材料。
(1)高级中学、中等职业学校(含实习指导教师)教师资格。
①现场确认时间。
第一阶段时间:6月15日至21日。
第二阶段时间:7月10日至14日。
现场确认时间为工作日上午9:00-12:00,下午13:30-16:00。
②现场确认地址:百色市右江区园博路百色市政务服务中心二楼200号综合窗口(原园博园主展馆)。
(2)初级中学、小学、幼儿园教师资格。
现场确认时间及地址由县(市、区)教育局结合实际情况自行确定,现场确认时间不得少于5个工作日。
四、认定条件
(一)思想品德条件。拥护中国共产党的领导,热爱社会主义祖国,坚持党的基本路线,有良好的政治素质和道德品质,遵守宪法和法律,热爱教育事业,能履行《中华人民共和国教师法》规定的义务,遵守教师职业道德。
(二)学历条件。具备《中华人民共和国教师法》规定的相应学历。
1.申请认定幼儿园教师资格,应当具备幼儿师范学校毕业及其以上学历。根据我区实际,2023年申请幼儿园教师资格的学历条件继续放宽到我区全日制中等师范学校、中等职业学校和技工院校在自治区教育厅或自治区人力资源社会保障厅备案的学前教育(幼儿教育)专业毕业生,未备案的不予认定。
2.申请认定小学教师资格,应当具备中等师范学校毕业及其以上学历。
3.申请认定初级中学教师资格,应当具备高等师范专科学校或者其他大学专科毕业及其以上学历。
4.申请认定高级中学教师资格和中等职业学校教师资格,应当具备高等师范院校本科或者其他大学本科毕业及其以上学历。
5.申请认定中等职业学校实习指导教师资格,应当具备中等职业学校毕业及其以上学历。
(三)教育教学能力条件。具备承担教育教学工作所必需的知识以及运用所学知识分析和解决教育教学实际问题的能力。参加国家中小学教师资格考试,取得《中小学教师资格考试合格证明》,且在有效期内。退役军人在服役前1年内取得中小学教师资格考试合格证明的凭入伍通知书、退役证书等相关材料,教师资格考试合格证明有效期可延长2年。在免试认定中小学教师资格改革范围的教育类研究生和师范生,参加师范生教育教学能力考核取得《师范生教师职业能力证书》,且在有效期内。
(四)普通话条件。达到国家语言文字工作委员会颁布的《普通话水平测试等级标准》二级乙等及以上标准,其中申请认定语文教学科目教师资格者,其普通话水平不得低于二级甲等。
(五)身体条件。具备良好的身体素质,心理健康,无传染性疾病和精神疾病,能适应教育教学工作的需要。在指定的医院体检,体检结论为合格。
五、认定流程
(一)注册与网上申报。
1.注册。申请人登录“中国教师资格网”(https://www.jszg.edu.cn),通过“网上办事”栏目下“教师资格认定”服务入口,点击“在线办理”进行账号注册和报名。操作方法可参考中国教师资格网主页面“咨询服务”栏下的“操作手册”。注册成功后,先完善个人信息,并在申请人员申请的认定机构网报时间段内登录报名。证件号为个人账号,一经注册不能修改,请务必仔细填写。
2.网上申报。申请人员在教师资格认定机构规定报名时间内登录“中国教师资格网”(https://www.jszg.edu.cn),选择“教师资格认定申请人网报入口”进入,根据系统提示注册用户、完善个人信息并完成实名核验后,如实、准确填报申请人信息,并按要求上传电子证件照片(格式:JPG/JPEG,彩色白底,不大于190K),在完成网上申报的所有环节,出现“申报提醒”页面并生成报名号,方为报名成功。
申请人选择认定机构和现场确认地点须根据实际情况从以下三项勾选。一是户籍所在地;二是居住地(须办理当地居住证且在有效期内,或现役军人和现役武警填报驻地),三是就读学校所在地(仅限应届毕业生和在读专升本学生、在读研究生)。申请人每年只能申请认定一种教师资格,认定通过后的当年在全国范围内不能再申请认定第二种教师资格。
(二)教师资格体检。
体检标准和操作规程按照《广西壮族自治区申请认定教师资格人员体检标准及办法(试行)》(桂教人〔2002〕154号)、《关于取消〈广西壮族自治区申请认定教师资格人员体检标准及办法(试行)〉关于身高要求的通知》(桂教师范〔2016〕38号)、《关于取消申请教师资格人员体检乙肝项目检测有关问题的通知》(桂教师范〔2010〕34号)等文件执行。
体检指定医院:百色市人民医院,右江民族医学院附属医院,百色市各县(市、区)人民医院。
(三)现场确认
申请人网上申报完成后,按照相应认定机构网站上发布的认定公告指定的时间和地点进行现场确认。现场确认时须检查审核的材料如下:
1.有效期内的身份证原件。
2.证件照。申请人近期免冠正面1寸彩色白底证件照片1张,相片背面写明姓名和报名系统分配的报名号,用以办理教师资格证书。照片应与网上申报时上传相片同底版。
3.不同情况申请人的相应材料:
(1)户籍在我市的申请人需提供户口簿(本人页)原件;
(2)持有我市有效期内居住证的申请人需提供居住证原件;
(3)应届毕业生需提供《应届毕业生就业推荐表》或《教育部学籍在线验证报告》,在读专升本学生和在读研究生需提供注册信息完整的学生证原件;
(4)驻广西部队现役军人和现役武警应提供所属部队或单位出具的人事关系证明;
(5)港澳台居民需提供港澳台居民居住证或港澳居民来往内地通行证、5年有效期台湾居民来往大陆通行证。
4.体检报告。申请人必须持本公告附件1《广西壮族自治区申请认定教师资格人员体检表》前往体检指定医院体检,体检表上的结论应明确填写“合格”或“不合格”(体检结论有效期为1年),并加盖体检医院公章。提供体检医院自制的体检表不能作为有效的教师资格认定体检报告。
5.《普通话水平测试等级证书》原件。普通话水平测试等级证书信息经系统比对核验通过的,可不提交原件。
6.学历证书原件。学历信息经系统比对核验通过的,可不提交学历证书原件。比对核验不成功的,申请人除提交学历证书原件外,还须提交《中国高等教育学历认证报告》(中等职业学校学历除外,申请人可提前通过“学信网”申请),否则视为不合格学历不予受理。建议申请人员提前在学信网验证学历,无法验证的及时申请认证报告。
申请人取得港澳台学历的还应同时提交教育部留学服务中心出具的《港澳台学历学位认证书》原件,取得国外学历的还应同时提交教育部留学服务中心出具的《国外学历学位认证书》原件。
7.申请中等职业学校实习指导教师资格人员,另需提供助理工程师以上专业技术职务或中级以上工人技术等级证书原件。
8.《国家中小学教师资格考试合格证明》《师范生教师职业能力证书》经系统比对核验通过的,可不提交相应证明或证书原件。
9.委托提交现场确认材料的,提供授权委托书(详见附件2)及被委托人身份证原件。
(四)证书领取
领取时间:第一阶段6月28日以后;第二阶段7月21日以后。
详细地址:百色市右江区前程路与百高路交汇处。
六、相关要求
(一)申请人可关注户籍所在地、居住地、就读学校、部队驻地的认定机构的有关通知通告,按照当地认定机构的要求,在规定时间内完成网上申请、现场确认及体检等事项。因错过申报时间、选错认定机构或现场确认点、申报信息有误或提交材料不全等原因未在规定时间内完成申报工作的,认定机构将不再受理。
(二)教师资格制度是一项法定的职业许可制度,申请人应如实提交相关材料,故意弄虚作假,骗取教师资格的将依据国家有关规定进行处罚。
(三)听障人员在我市申请中小学教师资格认定的相关要求按照《自治区教育厅关于做好2023年听障人员参加中小学教师资格考试和认定试点工作的通知》(桂教教师〔2023〕14号)文件执行。
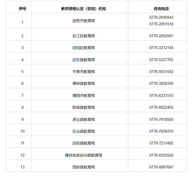
七、关于教师资格认定受理机构
申请人在认定中如有疑问,可拨打所认定机构的联系电话进行咨询。
附件:点击查看
1.广西壮族自治区申请认定教师资格人员体检表
2.授权委托书
百色市教育局
2023年4月13日
原文标题:百色市教育局关于开展2023年上半年中小学教师资格认定工作的公告
文章来源:http://jyj.baise.gov.cn/tzgg/bzgg/t16325835.shtml