【#中考# 导语】®文档大全网从临夏回族自治州教育局公众号了解到,2023年甘肃临夏州普通高中学校招生志愿填报时间:6月20日-25日,相关事宜如下:

各位初三年级家长,同学们:
6月16日,州教育局下发《关于做好临夏州2023年普通高中学校志愿填报工作的通知》,对全州普通高中学校招生志愿填报工作进行安排和要求,现将有关事项通知如下。
一、填报时间安排
6月20日8:00至6月25日18:00
考生填报志愿信息后,可在网报期间查看、修改自己的志愿信息,网报结束后,一律不能再进行修改。
二、填报网址
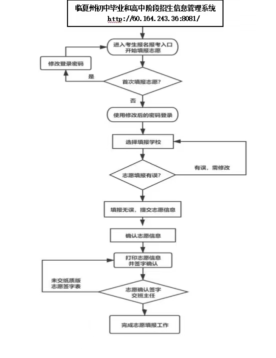
http://60.164.243.36:8081/
三、填报流程及方法
1.志愿设置
志愿批次按照《临夏州2023年普通高中学校招生工作实施方案》所列批次为准,考生根据自身学情进行志愿填报;“第二批次”和“第三批次”志愿填报,由各县市教育局负责,考生按照各县市制定的招生录取工作方案进行志愿填报。
2.填报方法

3.志愿打印
学生志愿提交后由学校负责打印志愿表,由学生本人签字确认后,将志愿确认表收集核对,核对无误后上报各县市教育局存档备案。
各县市招生工作咨询电话
临夏市教育局 6326638
临夏县教育局 3224209
永靖县教育局 8836117
康乐县教育局 4421976
和政县教科局 5523677
广河县教育局 5623894
东乡县教育局 6923006
积石山县教育局 7724326
举报监督电话 6225687(州纪委监委派驻州教育局纪检监察组) 6213819(州教育局基础教育科)
请各位同学和家长认真阅读报名流程,在规定的时间内完成志愿填报。最后,预祝同学们心想事成,考入自己理想的学校!
原文标题:临夏州2023年普通高中学校招生志愿填报开始了
文章来源:https://mp.weixin.qq.com/s/UhRz28Ds8uyIrtLhKpwT1A
正在阅读:
2023年甘肃临夏州普通高中学校招生志愿填报时间:6月20日-25日06-17
感恩节演讲稿:浓情似水,感恩母亲05-16
2021年云南大理州考试录用公务员面试及后续工作安排公告07-14
鲸的记忆作文800字06-26
上海松江2018考研复试安排【已公布】02-18
留学法国住房安全注意事项12-04
上海长征医院预约挂号统一平台-上海长征医院预约挂号平台:http://www.shczyy.com04-12
卑微也是一种活法作文800字01-06
我家的小乌龟作文800字08-08
美丽乡村作文300字09-06
2017安徽淮北中考成绩什么时候能查01-11