


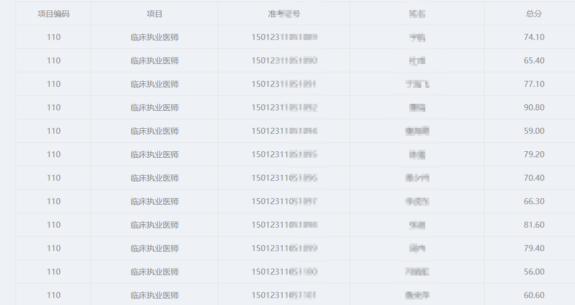
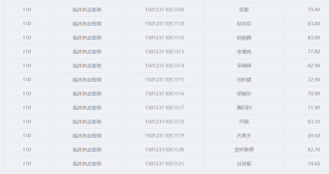
点击查看>>>2023年内蒙古呼和浩特医师资格实践技能考试成绩公示(6月6日临床类别)
原文标题:2023年医师资格实践技能考试呼和浩特考点成绩公示(6月6日临床类别)
文章来源:http://wjw.huhhot.gov.cn/wskwxx/202306/t20230608_1540839.html
正在阅读:
2023年内蒙古呼和浩特医师资格实践技能考试成绩公示(6月6日临床类别)06-14
第一次给妈妈洗脚作文600字12-19
我是书的小粉丝作文600字12-23
2020年8月北京通州自考报名时间:6月19日至24日12-07
2017年宁夏外科主治医师成绩查询网址:www.21wecan.com01-01
过小年祝福语:2017小年夜拜年短信推荐09-12
我在乎的人作文600字07-10
2022年安徽马鞍山普通高中学业水平考试报名时间:4月7日-29日04-16
此岸是风景,彼岸是感动作文700字01-10
朋友店开业祝福句子(5篇)08-31
人因简单而宁静作文12-12