
为积极响应海南自贸港人才引进政策,进一步加强人才队伍建设,同时加大我行高素质青年人才储备,建立与自由贸易港需求相匹配的金融服务架构,现启动2023届校园招聘工作,诚邀有志于携手海南银行共同发展的青年人才加入我行。我行将为各类人才提供广阔的成长发展空间、多样化的职业发展渠道、丰富的职业培训资源、于市场的薪酬待遇和健全完善的福利保障。
一、应聘基本条件
(一)热爱金融工作,认同海南银行核心价值观,具备良好的敬业精神和团队意识,勇于创新,追求卓越。
(二)初次就业,未曾与其他单位建立劳动关系。
(三)品行端正,诚实守信,无任何不良记录。
(四)身心健康,五官端正,具有正常履行工作职责的身体条件,符合《公务员录用体检通用标准(试行)》《公务员录用体检操作手册(试行)》的相关规定。
(五)国内外普通高等院校统招全日制本科及以上学历应届毕业生。境内院校应届毕业生应于2023年7月底之前取得国家认可的学位学历证书(含择业期内未落实工作单位的高校毕业生);境外院校应届毕业生应在2022年7月至2023年7月毕业,并在2023年7月底前获得国家教育部学历学位认证。
(六)专业不限,金融类、经管类、计算机类专业毕业生优先考虑。
二、招聘岗位及具体应聘条件
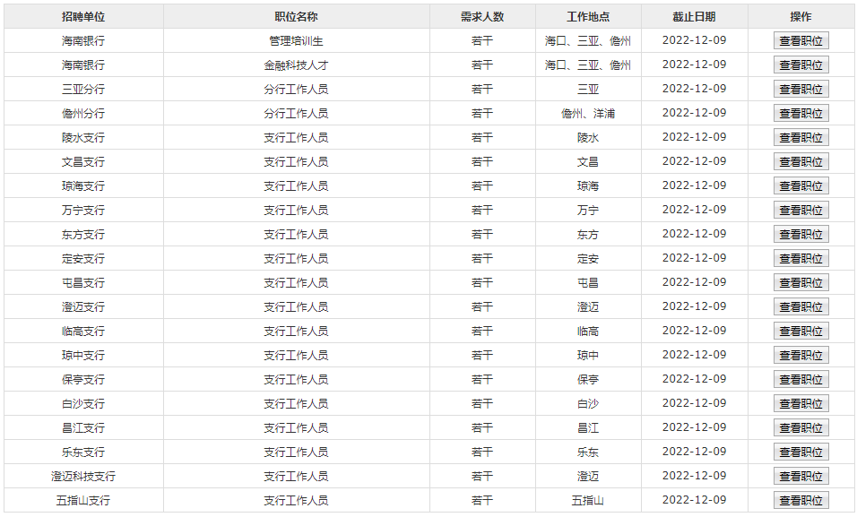
(一)管理培训生
(1)统招硕士及以上学历,国内院校应届生原则上应毕业于国内985、211院校及财经类双一流学科建设高校,国外院校应届生原则上应毕业于最新USNews排名前80名院校。
(2)通过大学英语六级,或雅思6.0分及以上、托福90分及以上。
(3)获得过奖学金或其他荣誉称号,担任过学生干部的,在同等条件下可优先考虑。
工作地点:海口、三亚、儋州。
(二)金融科技人才
(1)统招硕士及以上学历,或国内985、211院校及国外最新USNews排名前80名院校优秀本科应届毕业生。
(2)计算机软件、信息工程、通信网络、大数据、数学等专业。
(3)在校期间成绩优异,获得过奖学金或其他荣誉称号、担任过学生干部的,在同等条件下可优先考虑。
工作地点:海口、三亚、儋州。
(三)分支行工作人员。
工作地点:海南各市县。
三、招聘程序
网上投递简历--简历筛选--笔试--面试--体检--录用签约--岗前实习等环节。
报名途径:海南银行(www.hnbankchina.com.cn)点击“人才招聘”栏目了解详情。(请建议采用IE8及以上浏览器兼容性模式访问我行官方网站进行简历投递,其他浏览器可能存在技术兼容问题。)
网申截止时间为2022年12月9日。
四、应聘方式及注意事项
(一)本次招聘仅受理网上报名,不接受简历邮递、面呈等其它方式报名。我行将对收集的相关招聘资料严格保密,并仅用于处理本次招聘申请。
(二)应聘者须对个人填报信息的真实性、准确性负责,如与事实不符,我行有权取消其录用资格。
(三)海南银行不会以校园招聘名义向应聘人员收取任何费用。
招聘政策咨询:
王老师,联系电话:0898-66507761
官老师,联系电话:0898-66502659
海南银行股份有限公司
2022年11月9日
招聘职位列表
原文标题:海南银行股份有限公司2023届校园招聘公告
文章来源:https://zp.hnbankchina.com.cn/zpWeb/zpweb/bulletinEdit.do?actPara=findBulletin&bulletinId=OGE5ZTAxOTE4MmQwMmFmNDAxODQ1YmNmODFjZDAwMjg=&csrftoken=YWU2ZTZkZjQ=
正在阅读:
新年优美祝福句子【三篇】01-15
窃读记作文600字09-28
夏日历险读后感400字五篇10-20
重庆2019年考研调剂时间:3月20日-4月30日10-24
win7系统如何清空回收站(图文)05-31
2018湖北省华科光电信息学院材料与器件课题组招聘公告08-27
浙江国家税务局系统2017年国家公务员面试递补人员公告10-07
爱的漫想作文800字01-22
关于教师节的作文范文:一朵花的清香05-02