【#会计职称考试# 导语】®文档大全网小编根据重庆市财政局发布“重庆市财政局关于2022年度全国会计专业技术中级资格考试重庆考区有关事项的通知”得知,2022年重庆中级会计职称考试时间延期为2022年12月3日至4日,考试科目、考试人员及考试地点如下:

根据财政部办公厅《关于2022年度全国会计专业技术中级资格考试延期考试安排及有关事项的通知》(财办会〔2022〕33号),结合重庆实际,本着服务考生的原则,经研究决定,我市将组织2022年度全国会计专业技术中级资格考试延期考试(以下简称“中级会计资格延期考试”)。现将有关事项通知如下:
一、考试日期
中级会计资格延期考试于2022年12月3日至4日举行,共2个批次,具体安排如下:

考试人员:9月3日至5日2022年度全国会计专业技术中级资格考试中,因疫情管控未能参加考试的重庆考区考生。
考试地点:根据本次申请考试的考生人数情况统筹安排。具体考试时间、地点及批次以打印的准考证显示内容为准。
三、考务日程
1.2022年11月15日前,重庆市财政局(http://czj.cq.gov.cn/)“会计之家”栏目公布中级会计资格延期考试准考证网上打印起止时间。
2.2022年12月3日至4日,组织中级会计资格延期考试。
3.2022年12月31日前,全国会计资格评价网(http://kzp.mof.gov.cn/)公布各省市中级会计资格延期考试成绩。
4.考试成绩公布后15个工作日内,对成绩有异议的考生可向重庆市财政局会计专业技术资格考试办公室(以下简称市会考办)申请成绩复核(只能查询各小题得分情况,不能查询试卷)。
四、考试方式
中级会计资格延期考试采用无纸化方式。
五、其他事项
1.在2022年度全国会计中级资格考试中,已报名但因疫情防控原因未能参加考试的考生可选择参加延期考试或退还考试报名费,如选择退还考试费,考生已取得的合格成绩有效期延长1年。
2.相关考生须于2022年10月24日至11月6日期间登录“全国会计资格评价网”(如未注册,须先完成注册),提交申请并上传相关材料:如身份证、考试期间本人受疫情管控等原因无法参加考试的证明材料等(包括但不限于考试期间渝康码、核酸检测记录和报告,政府疫情防控部门、医院、街道、社区等出具的隔离管控等原因导致无法参加考试的证明等)。
3.考生报名所在区县财政局负责审核申请材料并做出审核意见。考生未在规定时间内提交申请和相关证明资料的,后期不再受理相关事项。
4.确认参加中级会计资格延期考试的考生,后续若因疫情防控原因未能参加延期考试,已取得的合格成绩有效期延长1年。
5.中级会计资格延期考试期间新冠肺炎疫情防控要求另行通知。
6.全市各级考试管理机构要坚持以考生为本的原则,认真负责,精心细致做好延期考试各项工作,确保延期考试顺利进行。考试管理机构应按照本地区新冠肺炎疫情防控工作要求,制定疫情防控措施和应急预案,确保广大考生和考务工作人员的生命安全和身体健康。
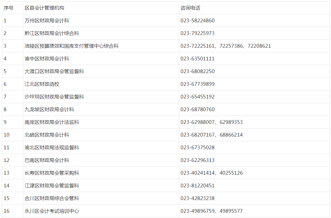
7.考生若有疑问,请于工作时间咨询市会考办或报名区县财政局考试管理机构。市会考办电话:023-63216182、63216191、63216192。各区县财政局会计专业技术资格考试咨询电话详见附件。
重庆市财政局
2022年10月20日
附件:
2022年度重庆市各区县会计专业技术资格考试咨询电话



原文标题:重庆市财政局关于2022年度全国会计专业技术中级资格考试重庆考区有关事项的通知
文章来源:https://czj.cq.gov.cn/ywgg/202210/t20221020_11207385.html
正在阅读:
重庆市财政局关于2022年会计专业技术中级资格考试重庆考区有关事项的通知10-21
三年级我的外婆作文【三篇】06-11
2017职称英语考试卫生类B级补全短文模拟题(1)08-13
2022年重庆中考录取分数线公布联招录取送档线589分06-25
2022年10月甘肃酒泉自考准考证打印时间:考前10日内04-30
北京咨询工程师继续教育网络平台点击进入06-18
2023年浙江台州温岭市卫生事业单位面向普通高校医学卫生类毕业生招聘工作人员公告11-16
预备党员转正思想汇报模板【三篇】01-28
四年级上册语文第二单元作文300字:四年级上册语文第二单元作文:蜘蛛05-05