
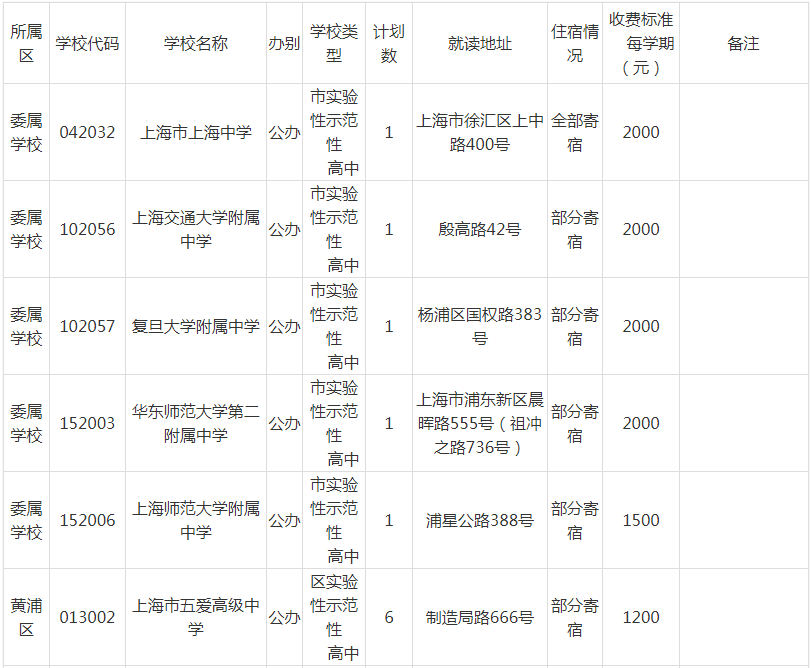
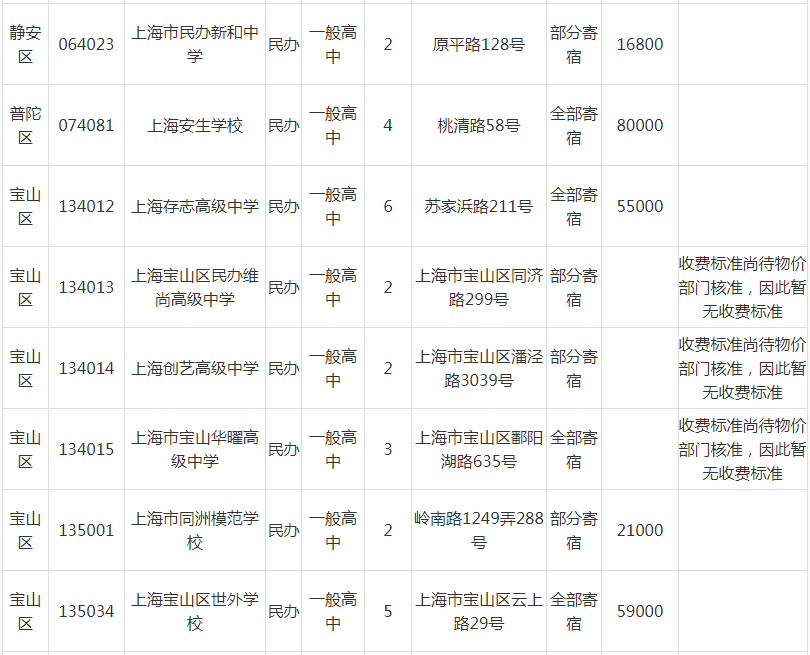
本页志愿请填写在市级志愿填报平台“统一招生录取志愿”栏内。学生和家长应先了解清楚学校招生情况,根据学生本人意愿和家庭状况等慎重选择填报。





原文标题:2023年统一招生录取(1至15志愿)外区普通高中在本区招生计划
文章链接:http://www.jiading.gov.cn/jiaoyu/publicity/zwgkbzml/zdgz/zsks/gzjysjy/164748
正在阅读:
上海嘉定2023年统一招生录取(1至15志愿)外区普通高中在本区招生计划06-16
做一个诚实的好孩子作文400字11-08
小米11为什么突然黑屏是什么原因-怎么解决手机黑屏(图文)06-06
2018年山东莱芜冬季会考报考资格08-06
读《苏武牧羊》有感900字10-07
2017年5月陕西五级秘书资格证报名条件10-06
2018福建厦门市梧村小学招聘非编教师公告【4人】07-03
2018年宁夏石嘴山成人高考成绩查询时间:11月下旬08-13