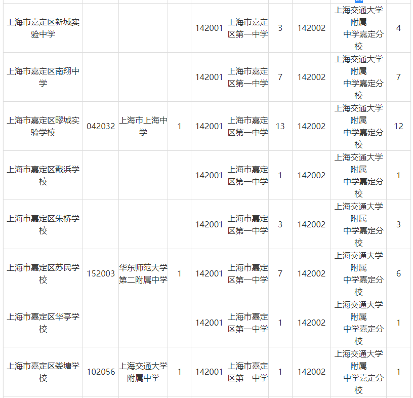
【#高考# 导语】®文档大全网高考频道从上海市嘉定区教育局了解到,上海市嘉定区2023年名额分配综合评价录取名额分配到校在本区招生计划已公布,具体如下:

按照《上海市教育委员会关于印发<上海市高中阶段学校招生录取改革实施办法>的通知》(沪教委规〔2021〕2号)、《上海市教育委员会关于2023年本市高中阶段学校招生工作的若干意见》(沪教委基〔2023〕5号)要求,名额分配到校的招生计划以随机、均衡为原则,以各不选择生源初中学校符合填报名额分配到校资格学生人数占全区符合填报名额分配到校资格学生总人数的比例为测算依据,编制2023年本区高中阶段学校招生名额分配到校招生计划,具体如下:




如需了解2023年嘉定区高中阶段学校招生名额分配到区的招生计划,可点击以下网址进行查询:https://www.shmeea.edu.cn/download/20230530/105.pdf
原文标题:2023年名额分配综合评价录取名额分配到校在本区招生计划
文章来源:http://www.jiading.gov.cn/jiaoyu/publicity/zwgkbzml/zdgz/zsks/gzjysjy/164143
正在阅读:
上海市嘉定区2023年名额分配综合评价录取名额分配到校在本区招生计划06-01
2019年期货从业资格考试试题每日一练(4.29)10-30
自考毕业自我鉴定范文200字-毕业自我鉴定范文200字五篇02-14
三年级保护动物作文300字【三篇】02-26
2019年河南土地登记代理人成绩查询入口【已开通】03-10
2023年河南平顶山郏县公开引进高中教师30人公告(4月3日8时起报名)03-30
2023下半年内蒙古中级银行从业资格准考证打印入口已开通10-24
歌颂教师(老师)的句子【三篇】05-09
2022年重庆口腔执业医师医学综合考试时间:8月19日-20日【附机考考试规则】08-20
2018新西兰移民费用!06-27